来源:吕梁市交通运输局 更新时间:2021-06-09 20:24:00
一、事项编码
二、实施部门
吕梁市交通运综合行政执法队
三、事项类别
行政处罚
四、适用范围
行政处罚案件的办理
五、设立依据
《中华人民共和国公路法》《中华人民共和国行政处罚法》《中华人民共和国道路运输管理条例》《公路安全保护条例》《山西省道路运输条例》等。
六、办理条件
违反相关法律、法规、规章
七、申办材料
作笔录、抽样取证、收集书证、物证、鉴定、勘验等。
八、办理方式
简易程序或一般程序
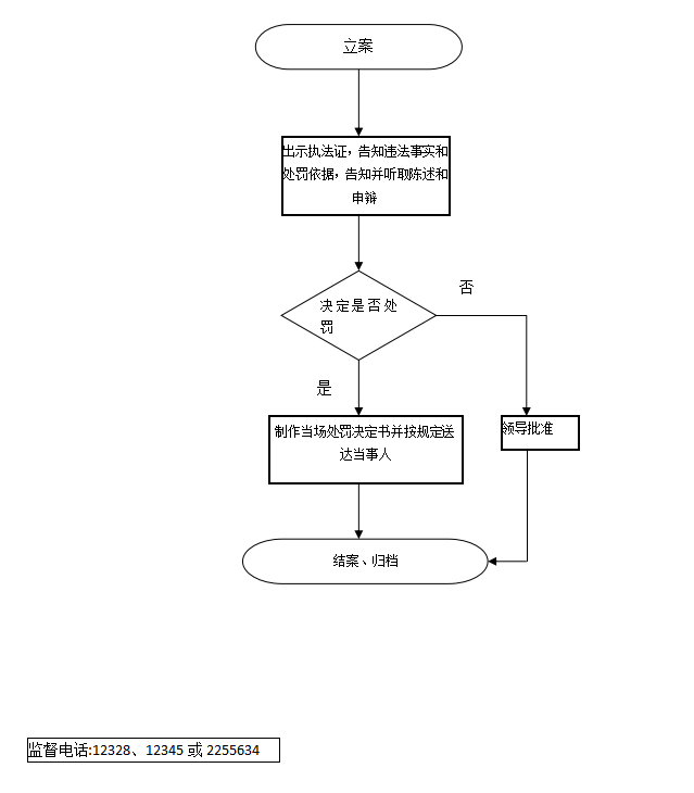
九、办理流程
见流程图
十、收费依据及标准
无
十一、结果送达
行政处罚决定书应当在宣告后当场交付当事人;当事人不在场的,行政机关应依照民事诉讼法的有关规定,将行政处罚决定书送达当事人。
十二、行政救济途径与方式
1、申请行政复议
2、提起行政诉讼
十三、咨询方式
吕梁市交通运输综合行政执法队
联系电话:0358—2255634
十四、监督投诉渠道
12328 12345 0358—2255634
十五、办理流程图
行政处罚流程图(简易程序)

行政处罚流程图(一般流程)
